發布日期:2022-11-07 20:02 瀏覽次數:
本標準規定了防火卷簾的定義、分類、要求、試驗方法、檢驗規則、標志、包裝、運輸和貯存。
本標準適用于工業與民用建筑中具有防火、防煙功能的防火卷簾。
本標準規定的無機纖維復合防火卷簾僅適用于室內干燥通風的場所。
下列文件中的條款通過本標準的引用而成為本標準的條款。凡是注日期的引用文件,其隨后所有的修改單(不包括勘誤的內容)或修訂版均不適用于本標準,然而,鼓勵根據本標準達成協議的各方研究是否可使用這些文件的最新版本。凡是不注日期的引用文件,其最新版本適用于本標準。
GB/T 1243 短節距傳動用精密滾子鏈和鏈輪(GB/T 1243-1997,eqv ISO 606:1994)
GB/T 2828.1 計數抽樣檢驗程序 第1部分:按接收質量限(AQL)檢索的逐批抽樣檢驗計劃(GB/T 2828.1-2003,ISO 2859-1:1999,IDT)
GB/T 3923.1 紡織品 織物拉伸性能 第1部分:斷裂強力和斷裂伸長率的測定 條樣法(GB/T 3923.1-1997,neq ISO/DIS 13934-1:1994)
GB 4717-1993 火災報警控制器通用技術條件
GB/T 5454 紡織品 燃燒性能試驗 氧指數法(GB/T 5454-1997,neq ISO 4589:1984)
GB/T 5455 紡織品 燃燒性能試驗 垂直法
GB/T 5464 建筑材料不燃性試驗方法(GB/T 5464-1999,idt ISO 1182:1990)
GB/T 7633 門和卷簾的耐火試驗方法(GB/T 7633-1987,eqv ISO 3008:1976)
GB 8624-1997 建筑材料燃燒性能分級方法
GB 9969.1 工業產品使用說明書 總則
GB/T 14436 工業產品保證文件 總則
GB 15930-1995 防火閥試驗方法
下列術語和定義適用于本標準。
3.1
鋼質防火卷簾 steel fire resistant shutter
指用鋼質材料做簾板、導軌、座板、門楣、箱體等,并配以卷門機和控制箱所組成的能符合耐火完整性要求的卷簾。
3.2
無機纖維復合防火卷簾 mineal fibre compositus fire resistant shutter
指用無機纖維材料做簾面(內配不銹鋼絲或不銹鋼絲繩),用鋼質材料做夾板、導軌、座板、門楣、箱體等,并配以卷門機和控制箱所組成的能符合耐火完整性要求的卷簾。
3.3
特級防火卷簾 special type fire resistant shutter
指用鋼質材料或無機纖維材料做簾面,用鋼質材料做導軌、座板、夾板、門楣、箱體等,并配以卷門機和控制箱所組成的能符合耐火完整性、隔熱性和防煙性能要求的卷簾。
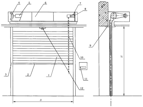
4.1 結構示意圖
結構示意圖及各零部件名稱見圖1。

1-簾面;
2-座板;
3-導軌;
4-支座;
5-卷軸:
6-箱體:
7-限位器;
8-卷門機;
9-門楣;
10-手動拉鏈:
11-控制箱(按鈕盒);
12-感溫、感煙探測器。
圖1 防火卷簾結構示意圖
注:防火卷簾的結構有多種形式,此圖僅是示例。
4.2 名稱符號
4.2.1 鋼質防火卷簾的名稱符號為GFJ。
4.2.2 無機纖維復合防火卷簾的名稱符號為WFJ。
4.2.3 特級防火卷簾的名稱符號為TFJ。
4.3 代號
防火卷簾的代號表示為

注1:防火卷簾的簾面數量為一個時,代號中簾面間距無要求。
注2:防火卷簾為無機纖維復合防火卷簾時,代號中耐風壓強度無要求。
注3:鋼質防火卷簾在室內使用,無抗風壓要求時,代號中耐風壓強度無要求。
注4:特級防火卷簾在名稱符號后加字母G、W、S和Q,表示特級防火卷簾的結構特征。其中G表示簾面由鋼質材料制作:W表示簾面由無機纖維材料制作;S表示簾面兩側帶有獨立的閉式自動噴水保護;Q表示簾面為其他結構型式。
示例1:GFJ-300300-F2-C,-D-80表示洞口寬度為300cm,高度為300cm,耐火極限不小于2.00h,啟閉方式為垂直卷,簾面數量為一個,耐風壓強度為80型的鋼質防火卷簾。
示例2:TFJ(W)-300300-TF3-C,-S-240表示簾面由無機纖維制造,洞口寬度為300cm,高度為300cm,耐火極限不小于3.00h,啟閉方式為垂直卷,簾面數量為兩個,簾面間距為240mm的特級防火卷簾。
4.4 防火卷簾規格(洞口尺寸)
防火卷簾規格用洞口尺寸(洞口寬度x洞口高度;單位cm)表示。
5.1 按耐風壓強度分類見表1。
表1 按耐風壓強度分類
代號 | 耐風壓強度/Pa |
50 | 490 |
80 | 784 |
120 | 1177 |
5.2 按簾面數量分類見表2。
表2 按簾面數量分類
代號 | 簾面數量 |
D | 1個 |
S | 2個 |
以上為標準部分內容,如需看標準全文,請到相關授權網站購買標準正版。