發布日期:2022-12-21 17:31 瀏覽次數:
本標準規定了用于測定公稱通徑不小于100mm軟管組件耐火性能的試驗方法。
該試驗用于證明在GB/T 21476所規定的試驗臺上施加一段時間火焰后,甚至在承受試驗壓力時,軟管組件具有連續緊密性。
試驗介質只允許是水。為確保在試驗期間如果軟管破損的情況下操作人員和試驗臺的最大安全,禁止使用易燃試驗介質。
下列文件中的條款通過本標準的引用而成為本標準的條款。凡是注日期的引用文件,其隨后所有的修改單(不包括勘誤的內容)或修訂版均不適用于本標準,然而,鼓勵根據本標準達成協議的各方研究是否可使用這些文件的最新版本。凡是不注日期的引用文件,其最新版本適用于本標準。
GB/T 21476 船舶與海上技術 軟管組件的耐火性能 試驗臺要求(GB/T 21476-2008,ISO 15541:1999,IDT)
用于確定耐火性能的試驗標記由下面的例子所引用的要素組成。

作為試件的軟管組件的軟管長度應不小于500mm。
試驗臺上的指揮者和操作者應同意試驗中所予采用的裝配型式。
根據要求,試件可能會進行帶防火套管和不帶防火套管的試驗。不帶防火套管的試驗用字母B表示,帶防火套管的試驗用字母F表示。
試驗前,試件應在室溫下保存24h。
相同結構的軟管組件應至少取公稱通徑最小、中等、最大的三個進行試驗。
試驗應在符合GB/T 21476要求的試驗臺上進行。
7.1 試件安裝
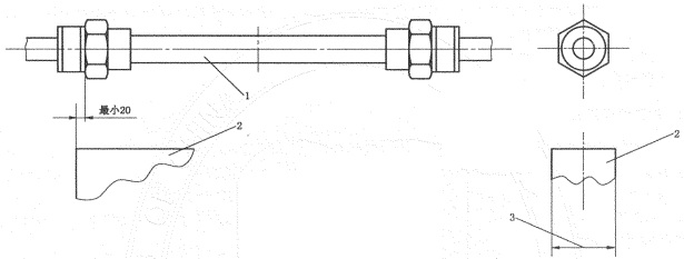
試件應安裝在試驗臺上,燃燒器末端延伸并超出軟管配件至少20mm,以使配件能完全被火焰包圍(見圖1)。
試件應位于燃燒器表面上方的正中位置(見圖1)。
單位為毫米

1——試件;
2——燃燒器;
3——燃燒器寬度。
圖1 試件布置
7.2 燃燒器寬度
為確保火焰包住試件,燃燒器最小寬度應符合表1的要求。
表1 燃燒器寬度 單位為毫米
燃燒器最小寬度 | 軟管外徑 |
50 | ≤25 |
100 | >25~75 |
150 | >75~125 |
200 | >125~150 |
250 | >150~200 |
7.3 準備
安裝之后,為了盡可能排出試件內的空氣,試件應用試驗介質至少灌洗1min。
7.4 測量值和測量點
下列測量值應在圖2所示的測量點測定:
——測量點1和2處的水溫;
——測量點3和4處的火焰溫度;
——水流速度;
——施加火焰時,試件內部壓力。
單位為毫米

A——流向;
B——套管中心;
C——燃燒器。
圖2 溫度測量點
7.5 施加火焰時的溫度
試驗持續時間應從試件達到試驗溫度(火焰溫度),即兩個測量點的溫度都達到試驗溫度時開始計算。
按照表2對溫度進行觀測。為確保水流溫度,應適當控制流速。
表2 溫度
水流溫度 | 測量點1的溫度 | (80±2)℃ |
測量點2的溫度 | 最大85℃ | |
試驗期間測量點3和4處的火焰溫度 | (800±50)℃ | |
注:溫度測量點見圖2。 | ||
7.6 施加火焰期間的壓力
試件應能承受試驗規定的工作壓力(5±0.2)bar。
注:工作壓力的偏差應協商一致。
7.7 試驗持續時間
試驗持續時間為30min。當試件完全暴露在試驗溫度(火焰溫度)下時開始試驗,兩個測量點的溫度都應達到表2的規定。
注:試驗持續時間的偏差應協商一致。
7.8 施加火焰結束后的壓力
施加火焰后,試件應在室溫下施加按軟管/軟管組件標準或其他技術標準規定的試驗壓力2min。
施加火焰后,試件承受試驗壓力時仍能保持緊密性,則認為試驗合格。
當某一試件不合格時,應取與不合格試件相同公稱通徑的兩個試件重做試驗。重做試驗時,如果有一個試件不合格,則認為用于試驗的軟管組件不合格。
如果全部試件成功通過試驗,則用于試驗的軟管組件應予認可,亦即,從公稱通徑最小到最大均予認可。
試驗結果應該在試驗證書中證明,試驗證書見附錄A所示。
以上為標準部分內容,如需看標準全文,請到相關授權網站購買標準正版。