GB/T 18301-2012 耐火材料 常溫耐磨性試驗方法
- 發表時間:2022-12-11
- 來源:共立消防
- 人氣:
1 范圍
本標準規定了耐火材料常溫耐磨性試驗的術語和定義、原理、設備、試樣、試驗程序、結果計算、設備檢查和試驗報告等。
本標準適用于磨損和沖刷環境下致密耐火材料常溫耐磨性的測定。
2 規范性引用文件
下列文件對于本文件的應用是必不可少的。凡是注日期的引用文件,僅注日期的版本適用于本文件。凡是不注日期的引用文件,其最新版本(包括所有的修改單)適用于本文件。
GB/T 2480 普通磨料 碳化硅
GB/T 2997 致密定形耐火制品 體積密度、顯氣孔率和真氣孔率試驗方法(GB/T 2997-2000,eqv ISO 5017:1998)
GB/T 8170 數值修約規則與極限數值的表示和判定
GB/T 9258.1 涂附磨具用磨料 粒度分析 第1部分:粒度組成
GB/T 9258.2 涂附磨具用磨料 粒度分析 第2部分:粗磨粒P12~P220粒度組成的測定
ISO 565 試驗篩 金屬絲網布、孔板和電加工成形薄板 孔徑的公稱直徑(Test sieves-Metalwire cloth,perforated metal plate and electroformed sheet-Nominal sizes of openings)
3 術語和定義
下列術語和定義適用于本文件。
3.1
耐磨性 resistance to abrasion
材料抵抗運動固體的機械作用對耐火材料試樣表面磨損的能力。
3.2
耐沖刷性 resistance to erosion
材料抵抗流體的機械作用對耐火材料試樣表面磨損的能力,無論其中是否含有固體物質。
4 原理
用450kPa壓縮空氣將1000g具有規定粒度級別的碳化硅砂通過噴砂管垂直噴射到試樣的平坦表面,測定試樣的磨損體積。
5 設備
5.1 磨損試驗機
包括5.1.1和5.1.2規定的設備。
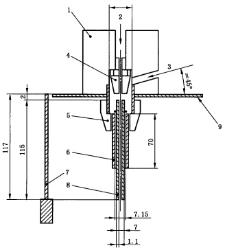
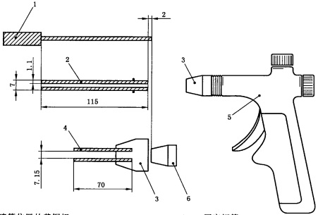
5.1.1 文氏管噴吹裝置(見圖1)或噴槍(見圖2)
由一個帶有空氣噴嘴的合適機座構成。壓縮空氣通過噴嘴傳送至作用相當于文氏管的裝置內腔,磨損介質從腔體側面進入。空氣噴嘴的入口內徑為2.84mm~2.92mm,出口內徑為2.36mm~2.44 mm,其外部用長9.4mm,內徑4.7mm,壁厚1.5mm的塑料管保護,以防止空氣噴嘴磨損。文氏管的空腔內徑不能超過10mm,并應定期檢查其磨損情況。
5.1.2 噴砂管(見圖1和圖2)
由長115mm,外徑7mm,公稱壁厚1.1mm的玻璃管制成,用于引導磨損介質到試樣上。玻璃管
用一根長70mm,內徑7.15mm的不銹鋼管來固定,鋼管一端應呈喇叭狀或臺階狀,以便固定于一個
內徑9.53mm的螺母內保持密封并使噴砂管垂直于試樣。玻璃管外圓應裝尺寸合適的橡膠密封墊,以保持噴槍內有一定的真空度。
保證噴砂管一端距壓縮空氣噴嘴出口端有2mm間隙,磨損介質通過此間隙進入噴砂管。此操作可通過將玻璃管放在一直徑4.5mm,距頂端117mm帶有-7.9mm掛耳的黃銅桿上來完成。這樣可使玻璃管插入鋼管并進入槍筒,直到黃銅桿的頂端碰到空氣噴嘴,從而確保在玻璃管端口與空氣噴嘴間有2mm間隙。
每次測定都要更換新的玻璃管。
5.2 供料系統
具有將1000g磨損介質在(450±15)s內提供給噴吹裝置的能力。輔助空氣應能攜帶磨損介質進入系統。在圖3和圖4中顯示了一個適合的供料機構,它由3個漏斗組成:
a)一個上部(裝料)漏斗;
b)一個中部(供料控制)漏斗,其上安裝有一個由金屬、玻璃或塑料制成的節流孔,用以提供所需進料速度;
c)一個下部(送料)漏斗。
5.3 試驗箱(見圖3)
由一個帶門的能密閉的箱體構成。通過此門可放置和取出試樣。噴吹裝置垂直安裝于試驗箱的頂部,這樣磨損介質從玻璃噴嘴頂端經過(203±1)mm向下噴射到試樣上。
試驗箱應安裝一個排氣管和一個蝶形閥,以調節試驗過程中箱內的壓力。在排氣管尾部可裝一個適當容積的集塵袋。
箱體上部還應安裝一個管子和截止閥用于連接壓力表。
5.4 液體壓力計
量程0Pa~400 Pa(41mm水柱),用于測量試驗過程中試驗箱內的壓力。
5.5 真空表
量程0Pa~-0.1 MPa(75 mm汞柱),用于測量噴吹裝置磨損介質入口處的壓力。
5.6 天平
感量0.1g。
5.7 游標卡尺
分度值為0.5mm。
單位為毫米

1——文氏管座;
2——空氣入口;
3——磨損介質入口;
4——空氣噴嘴:入口內徑為2.84mm~2.92mm,出口內徑為2.36mm~2.44mm;
5——管狀螺母;
6——固定鋼管;
7——確定玻璃管位置的黃銅桿;
8——帶墊圈的玻璃管;
9——試驗箱頂部。
圖1 文氏管噴吹裝置示意圖
單位為毫米

1——確定玻璃管位置的黃銅桿;
2——帶墊圈的玻璃管;
3——管狀螺母;
4——固定鋼管;
5——噴砂槍;
6——空氣噴嘴。
圖2 噴槍(拆分)示意圖
以上為標準部分內容,如需看標準全文,請到相關授權網站購買標準正版。
-
IG541混合氣體滅火系統
IG541混合氣體滅火系統:IG-541滅火系統采用的IG-541混合氣體滅火劑是由大氣層中的氮氣(N2)、氬氣(Ar)和二氧化碳(CO2)三種氣體分別以52%、40%、8%的比例混合而成的一種滅火劑 -
二氧化碳氣體滅火系統
二氧化碳氣體滅火系統:二氧化碳氣體滅火系統由瓶架、滅火劑瓶組、泄漏檢測裝置、容器閥、金屬軟管、單向閥(滅火劑管)、集流管、安全泄漏裝置、選擇閥、信號反饋裝置、滅火劑輸送管、噴嘴、驅動氣體瓶組、電磁驅動 -
七氟丙烷滅火系統
七氟丙烷(HFC—227ea)滅火系統是一種高效能的滅火設備,其滅火劑HFC—ea是一種無色、無味、低毒性、絕緣性好、無二次污染的氣體,對大氣臭氧層的耗損潛能值(ODP)為零,是鹵代烷1211、130 -
手提式干粉滅火器
手提式干粉滅火器適滅火時,可手提或肩扛滅火器快速奔赴火場,在距燃燒處5米左右,放下滅火器。如在室外,應選擇在上風方向噴射。使用的干粉滅火器若是外掛式儲壓式的,操作者應一手緊握噴槍、另一手提起儲氣瓶上的


