GB/T 22459.1-2022 耐火泥漿 第1部分:稠度試驗方法(錐入度法)
- 發表時間:2022-11-27
- 來源:共立消防
- 人氣:
1 范圍
本文件規定了耐火泥漿稠度試驗方法(錐入度法)的原理、儀器設備、取樣、試驗程序、結果計算和試驗報告。
本文件適用于耐火泥漿稠度(錐入度法)的測定。
2 規范性引用文件
下列文件中的內容通過文中的規范性引用而構成本文件必不可少的條款。其中,注日期的引用文件,僅該日期對應的版本適用于本文件;不注日期的引用文件,其最新版本(包括所有的修改單)適用于本文件。
GB/T 4513.2 不定形耐火材料 第2部分:取樣(GB/T 4513.2-2017,ISO 1927-2:2012,IDT)
GB/T 8170 數值修約規則與極限數值的表示和判定
GB/T 18930 耐火材料術語(GB/T 18930-2020,ISO 836:2001,MOD)
3 術語和定義
GB/T 18930界定的以及下列術語和定義適用于本文件。
3.1
耐火泥漿的稠度 consistency of refractory mortars
耐火泥漿在應用狀態下的黏度。
4 原理
用一個特定的圓錐體沉入試樣的深度來測定耐火泥漿的稠度。
5 儀器設備
5.1 錐入度儀
5.1.1 概述
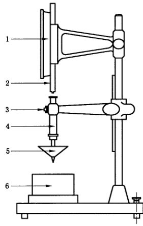
錐入度儀結構示意圖見圖1,由讀數儀表、測量桿、釋放按鈕、撞桿、圓錐體和試樣盒組成。
5.1.2 圓錐體和撞桿
圓錐體和撞桿通過螺絲緊固在一起,總質量150g±0.25g。圓錐體的形狀尺寸如圖2所示,質量為100g±3g。錐尖為不銹鋼材質,其他部分為銅質或耐腐蝕鋼質。錐尖與錐體之間應緊密結合,接口處無錯臺。錐面應經拋磨處理,表面光滑。
5.1.3 試樣盒
試樣盒為尺寸內徑100mm、深50mm的圓柱體盒子。
5.2 攪拌機
5.2.1 概述
攪拌機由攪拌鍋與攪拌葉片組成,示意圖見圖3。攪拌鍋與攪拌葉片之間的間隙可以調整,通常為3mm±1mm。應定期檢查攪拌鍋和攪拌葉片之間的間隙,超過范圍時及時調整。
攪拌鍋與攪拌葉片應是不與試驗材料反應的金屬材料。

標引序號說明:
1——讀數儀表;
2——測量桿;
3——釋放按鈕;
4——撞桿;
5——圓錐體;
6——試樣盒。
注:啟動釋放按鈕時,撞桿和圓錐體下沉;松開釋放按鈕時撞桿和圓錐體被鎖緊在機架上。
圖1 錐入度儀結構示意圖
5.2.2 攪拌鍋
在攪拌過程中,攪拌鍋安全地固定在攪拌機機架上。如圖3所示,攪拌鍋關于A軸對稱,根據所制樣品的數量多少選擇合適容器的鍋,宜為要攪拌試樣干體積的3~5倍。
5.2.3 攪拌葉片
如圖3所示,攪拌葉片關于B軸對稱。攪拌葉片由轉速可控的電動機驅動,在繞自身軸(B軸)旋轉的同時,繞攪拌鍋的軸(A軸)作行星運動。兩個旋轉的方向應相反,并且兩個轉速之間的比率不應為整數。
5.3 天平
最小分度值不大于1g。
5.4 量筒
最小分度值不大于5mL。
5.5 溫度計
最小分度值不大于1℃。
單位為毫米

標引序號說明:
1——用于連接撞桿的圓棒;
2——錐尖;
3——錐面。
圖2 錐入度儀圓錐體的形狀和尺寸
以上為標準部分內容,如需看標準全文,請到相關授權網站購買標準正版。
-
IG541混合氣體滅火系統
IG541混合氣體滅火系統:IG-541滅火系統采用的IG-541混合氣體滅火劑是由大氣層中的氮氣(N2)、氬氣(Ar)和二氧化碳(CO2)三種氣體分別以52%、40%、8%的比例混合而成的一種滅火劑 -
二氧化碳氣體滅火系統
二氧化碳氣體滅火系統:二氧化碳氣體滅火系統由瓶架、滅火劑瓶組、泄漏檢測裝置、容器閥、金屬軟管、單向閥(滅火劑管)、集流管、安全泄漏裝置、選擇閥、信號反饋裝置、滅火劑輸送管、噴嘴、驅動氣體瓶組、電磁驅動 -
七氟丙烷滅火系統
七氟丙烷(HFC—227ea)滅火系統是一種高效能的滅火設備,其滅火劑HFC—ea是一種無色、無味、低毒性、絕緣性好、無二次污染的氣體,對大氣臭氧層的耗損潛能值(ODP)為零,是鹵代烷1211、130 -
手提式干粉滅火器
手提式干粉滅火器適滅火時,可手提或肩扛滅火器快速奔赴火場,在距燃燒處5米左右,放下滅火器。如在室外,應選擇在上風方向噴射。使用的干粉滅火器若是外掛式儲壓式的,操作者應一手緊握噴槍、另一手提起儲氣瓶上的


