GB/T 2032-2018 船用法蘭消火栓
- 發表時間:2022-11-12
- 來源:共立消防
- 人氣:
1 范圍
本標準規定了法蘭連接尺寸和密封面符合GB/T 2501、CB/T 4196規定的船用法蘭消火栓(以下簡稱消火栓)的分類和標記、要求、試驗方法、檢驗規則、標志、包裝和貯存。
本標準適用于介質為淡水、海水消防管路系統用消火栓的設計、制造和驗收。
2 規范性引用文件
下列文件對于本文件的應用是必不可少的。凡是注日期的引用文件,僅注日期的版本適用于本文件。凡是不注日期的引用文件,其最新版本(包括所有的修改單)適用于本文件。
GB/T 600-2008 船舶管路閥件通用技術條件
GB/T 1176-2013 鑄造銅及銅合金
GB/T 1184-1996 形狀和位置公差 未注公差值
GB/T 1220-2007 不銹鋼棒
GB/T 1804-2000 一般公差 未注公差的線性和角度尺寸的公差
GB/T 1958 產品幾何技術規范(GPS)幾何公差 檢測與驗證
GB/T 2031-2018 船用消防接頭
GB/T 2501 船用法蘭連接尺寸和密封面
GB/T 5231-2012 加工銅及銅合金牌號和化學成分
GB/T 5574-2008 工業用橡膠板
GB/T 16253-1996 承壓鋼鑄件
CB/T 3927 船用鑄造閥件壁厚
CB/T 4196 船用法蘭 連接尺寸和密封面
3 分類和標記
3.1 型式
消火栓的型式規定如下:
AS型-法蘭連接尺寸符合GB/T 2501的直通型消火栓。
A型-法蘭連接尺寸符合CB/T4196的直通型消火栓。
BS型-法蘭連接尺寸符合GB/T 2501的直角型消火栓。
B型-法蘭連接尺寸符合CB/T 4196的直角型消火栓。
3.2 基本參數
消火栓的基本參數見表1。
表1 消火栓的基本參數
型式 | 公稱壓力 PN | 工作壓力P MPa | 公稱尺寸DN |
AS | 16 | 1.6 | 40、50、65 |
A | |||
BS | |||
B | |||
B | - | 3.0 |
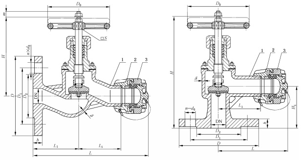
3.3 結構和尺寸
3.3.1 公稱壓力PN16的AS型、BS型消火栓的結構和基本尺寸見圖1和表2。

a)軟密封消火栓
圖1 AS型、A型、BS型、B型消火栓

b) 硬密封消火栓
說明:
1-消防閥:
2-消防接頭;
3-接頭封蓋。
圖1(續)
表2 AS型、BS型消火栓的基本尺寸
公稱 尺寸 DN | 外形尺寸/mm | 閥體 壁厚 8/ mm | 法蘭連接尺寸/mm | 手輪/mm | 升程 m/ mm | 理論質量/kg | |||||||||||||||||
L | L1 | H | L2 | H1 | D | D1 | D2 | b | d0 | n | Th. | D0 | S | AS型 | BS型 | ||||||||
AS 型 | BS 型 | AS 型 | BS 型 | AS 型 | BS 型 | 銅 | 不銹 鋼 | 銅 | 不銹 鋼 | ||||||||||||||
40 | 240 | 134 | 85 | 70 | 167 | 140 | 90 | 70 | 5 | 150 | 110 | 88 | 16 | 18 | 4 | M16 | 120 | 11 | 14 | 7.25 | 6.58 | 6.65 | 6.03 |
50 | 258 | 145 | 80 | 170 | 100 | 80 | 165 | 125 | 102 | 17 | 16 | 8.94 | 8.11 | 8.27 | 7.51 | ||||||||
65 | 294 | 170 | 100 | 95 | 200 | 170 | 120 | 90 | 6 | 185 | 145 | 122 | 140 | 12 | 20 | 10.7 | 9.71 | 10.3 | 9.34 | ||||
3.3.2 公稱壓力PN16的A型、B型消火栓的結構和基本尺寸見圖1和表3。
表3 A型、B型消火栓的基本尺寸
公稱 尺寸 DN | 外形尺寸/mm | 閥體 壁厚 8/ mm | 法蘭連接尺寸/mm | 手輪/mm | 升程 m/ mm | 理論質量/kg | |||||||||||||||||
L | L1 | H | L2 | H1 | D | D: | D2 | b | d0 | n | Th. | D0 | S | A型 | B型 | ||||||||
A 型 | B 型 | A 型 | B 型 | A 型 | B 型 | 銅 | 不銹 鋼 | 銅 | 不銹 鋼 | ||||||||||||||
40 | 240 | 134 | 85 | 70 | 167 | 140 | 90 | 70 | 5 | 125 | 93 | 74 | 14 | 15 | 6 | M14 | 120 | 11 | 14 | 6.25 | 5.67 | 5.75 | 5.22 |
50 | 258 | 145 | 80 | 170 | 100 | 80 | 135 | 103 | 84 | 16 | 7.82 | 7.12 | 7.27 | 6.60 | |||||||||
65 | 294 | 170 | 100 | 95 | 200 | 170 | 120 | 90 | 6 | 155 | 123 | 104 | 140 | 12 | 20 | 9.80 | 8.89 | 9.40 | 8.53 | ||||
3.3.3 工作壓力P為3.0MPa的B型消火栓的結構尺寸見圖2和表4。
以上為標準部分內容,如需看標準全文,請到相關授權網站購買標準正版。
-
IG541混合氣體滅火系統
IG541混合氣體滅火系統:IG-541滅火系統采用的IG-541混合氣體滅火劑是由大氣層中的氮氣(N2)、氬氣(Ar)和二氧化碳(CO2)三種氣體分別以52%、40%、8%的比例混合而成的一種滅火劑 -
二氧化碳氣體滅火系統
二氧化碳氣體滅火系統:二氧化碳氣體滅火系統由瓶架、滅火劑瓶組、泄漏檢測裝置、容器閥、金屬軟管、單向閥(滅火劑管)、集流管、安全泄漏裝置、選擇閥、信號反饋裝置、滅火劑輸送管、噴嘴、驅動氣體瓶組、電磁驅動 -
七氟丙烷滅火系統
七氟丙烷(HFC—227ea)滅火系統是一種高效能的滅火設備,其滅火劑HFC—ea是一種無色、無味、低毒性、絕緣性好、無二次污染的氣體,對大氣臭氧層的耗損潛能值(ODP)為零,是鹵代烷1211、130 -
手提式干粉滅火器
手提式干粉滅火器適滅火時,可手提或肩扛滅火器快速奔赴火場,在距燃燒處5米左右,放下滅火器。如在室外,應選擇在上風方向噴射。使用的干粉滅火器若是外掛式儲壓式的,操作者應一手緊握噴槍、另一手提起儲氣瓶上的


