AQ 1080-2009 煤的瓦斯放散初速度指標(ΔP)測定方法
- 發表時間:2022-09-21
- 來源:共立消防
- 人氣:
1 范圍
本標準規定了測定煤的瓦斯放散初速度指標現場采樣、儲存、制樣、測定方法、測定儀器、測定步驟與結果表述。
本標準適用于煤的瓦斯放散初速度指標(ΔP)的實驗室測定。
2 規范性引用文件
下列文件中的條款通過本標準的引用而成為本標準的條款。凡是注日期的引用文件,其隨后所有 的修改單(不包括勘誤的內容)或修訂版均不適用于本標準,然而,鼓勵根據本標準達成協議的各方研究 是否可使用這些文件的最新版本。凡是不注明日期的引用文件,其最新版本適用于本標準。
GB 474 煤樣的制備方法
GB/T 477 煤炭篩分試驗方法
GB 482 煤層煤樣采取方法
3 術語和定義
下列術語和定義適用于本標準。
3.1
瓦斯放散初速度指標(Ap) index (ΔP) of initial velocity of diffusion of coal gas
3.5 g規定粒度的煤樣在0.1 MPa壓力下吸附瓦斯后向固定真空空間釋放時,用壓差ΔP(mmHg) 表示的10 s?60 s時間內釋放出瓦斯量指標。
3.2
固定空間fixed space
在瓦斯放散初速度指標(ΔP)測試中,容納解吸瓦斯且不含試樣瓶在內的封閉空間。
3.3
放散空間 diffusion space
在瓦斯放散初速度指標(ΔP)勿測試中,容納解吸瓦斯的封閉空間。
4 測定方法
測定方法有兩種:
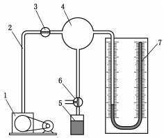
a)變容變壓式,其結構如圖1所示;
b)等容變壓式,其結構如圖2所示。
5 測定儀器、用具及參數
5.1 基本要求
試樣瓶容積(含管路)5 mL;
固定空間體積28 mL(不含試樣瓶),出廠時應標定;
真空泵:抽氣量>2 L/min且<5 L/min,真空度<4 Pa;
甲烷氣源0.1 MPa,純度>99.9% ;

1——真空泵
2——玻璃管;
3——二通閥;
4——固定空間;
5——試樣瓶;
6——三通閥;
7——真空汞柱計。
圖1 變容變壓式原理放散初速度指標測定儀示意圖

1——真空泵;
2、8、9——閥門;
3——固定空間;
4——壓力傳感器;
5——試樣瓶;
6——管路;
7——甲烷氣源。
圖2 等容變壓式原理放散初速度指標測定儀示意圖
分樣篩:孔徑0.2 mm、0.25 mm各一個; 天平:量程100 g,感量0.05 g; 漏斗、脫脂棉等。
5.2 變容變壓式測定儀
真空汞柱計:量程范圍0 mmHg?360 mmHg,誤差<1 mmHg,內徑3 mm。
5.3 等容變壓式測定儀
應能對放散量進行連續監測、記錄、存儲與計算。
閥門:泄漏量<10-6 Pa·m3/s,耐壓0.2 MPa;
傳感器:量程0 mmHg?760 mmHg,誤差<0.5 mmHg。
5.4 氣密性檢查
5.4.1 對于變容變壓式測定儀,在不裝試樣時,對放散空間脫氣使汞柱計液面相平,停泵并放置5 min 后,汞柱計液面相差應小于1 mm。
5.4.2 對于等容變壓式測定儀,在不裝試樣時,對放散空間脫氣使其壓力達到10mmHg以下,停泵并 放置5 min后,放散空間壓力增加應小于1 mmHg。儀器應帶氣密性自檢功能。
5.4.3 氣密性檢查至少一個月進行一次。
6 采樣與制樣
6.1 采樣
在新暴露煤壁、地面鉆井、井下鉆孔取煤樣。煤樣應附有標簽,注明采樣地點、層位、采樣時間等。 若煤層有多個分層,應逐層分別采樣。每個煤樣重250 g。
6.2 制樣
按照GB 474、GB 477的規定制作。篩分出粒度為0.2 mm?0.25 mm的煤樣。每個煤樣取兩個試樣,每個試樣重3.5 g。
7 測定步驟
7.1 脫氣與充氣
7.1.1 把同一煤樣的兩個試樣用漏斗分別裝入ΔP測定儀的試樣瓶中。
7.1.2 啟動真空泵對兩個試樣脫氣1.5h。
7.1.3 脫氣1.5 h后關閉真空泵,將甲烷瓶與試樣瓶連接,充氣(充氣壓力為0.1 MPa)使兩個試樣吸 附瓦斯1.5 h。
7.1.4 將試樣瓶與甲烷瓶、大氣之間用閥門相互隔離。
7.2 指標測定
7.2.1 變容變壓式儀器測定
a)如圖1所示,開動真空泵,打開閥3對固定空間(含儀器管道)進行脫氣,使U型管汞真空計兩端液面相平;
b)停止真空泵,關閉閥3,旋轉閥6,使試樣瓶與固定空間相連接并使二者均與大氣隔離,同時啟 動秒表計時,10s時斷開試樣瓶與固定空間,讀出汞柱計兩端汞柱差仍(mm),45 s時再連通試 樣瓶與固定空間,60 s時斷開試樣瓶與固定空間,再一次讀出汞柱計兩端差力(mmHg);
c) 計算:ΔP=P2 一 P1。
7.2.2 等容變壓式儀器測定
a)如圖2所示,關閉閥門8、9,打開閥門2,開動真空泵對固定空間(含儀器管道)進行脫氣;
b)停止真空泵,關閉閥門2,打開閥門8,使試樣瓶與固定空間相連接并同時啟動放散速度測定儀 的計時器與壓力傳感器,10 s時關閉閥門8,記錄固定空間壓力H1 (mmHg), 45 s時再打開閥 門8,60 s時關閉閥門8,再一次讀出固定空間壓力Hz(mmHg);
c)按測定的H1、H2,由下式換算成以mmHg為單位的ΔP值:

式中:
V0——規定的變容變壓裝置放散空間體積(汞柱計液面壓差為0時),單位為毫升(mL);
r—— 規定的變容變壓裝置的汞柱計內截面半徑,單位為毫米(mm);
V—— 等容變壓裝置的放散空間體積,單位為毫升(mL);
H1、H2——等容變壓裝置第10 s、第60 s時的固定空間壓力,單位為毫米汞柱(mmHg)。
以上為標準部分內容,如需看標準全文,請到相關授權網站購買標準正版。
-
IG541混合氣體滅火系統
IG541混合氣體滅火系統:IG-541滅火系統采用的IG-541混合氣體滅火劑是由大氣層中的氮氣(N2)、氬氣(Ar)和二氧化碳(CO2)三種氣體分別以52%、40%、8%的比例混合而成的一種滅火劑 -
二氧化碳氣體滅火系統
二氧化碳氣體滅火系統:二氧化碳氣體滅火系統由瓶架、滅火劑瓶組、泄漏檢測裝置、容器閥、金屬軟管、單向閥(滅火劑管)、集流管、安全泄漏裝置、選擇閥、信號反饋裝置、滅火劑輸送管、噴嘴、驅動氣體瓶組、電磁驅動 -
七氟丙烷滅火系統
七氟丙烷(HFC—227ea)滅火系統是一種高效能的滅火設備,其滅火劑HFC—ea是一種無色、無味、低毒性、絕緣性好、無二次污染的氣體,對大氣臭氧層的耗損潛能值(ODP)為零,是鹵代烷1211、130 -
手提式干粉滅火器
手提式干粉滅火器適滅火時,可手提或肩扛滅火器快速奔赴火場,在距燃燒處5米左右,放下滅火器。如在室外,應選擇在上風方向噴射。使用的干粉滅火器若是外掛式儲壓式的,操作者應一手緊握噴槍、另一手提起儲氣瓶上的


