GB/T 31301.3-2015 制鞋機械 安全要求 第3部分:砂磨機和拋光機
- 發表時間:2023-03-14
- 來源:共立消防
- 人氣:
1 范圍
GB/T 31301的本部分規定了砂磨機和拋光機的設計、結構和使用方面的安全要求。本部分包含操作者對機器的預期使用及可預見的誤用所產生的與砂磨、拋光機相關的全部重大危險、危險狀態和危險事件(見附錄A)。
本部分適用于制鞋工業用于加工材料的機器,即:砂磨機(包括粗磨機、精磨機)和拋光機。
本部分不適用于組合式修鞋機。
2 規范性引用文件
下列文件對于本文件的應用是必不可少的。凡是注日期的引用文件,僅注日期的版本適用于本文件。凡是不注日期的引用文件,其最新版本(包括所有的修改單)適用于本文件。
GB/T 3766-2001 液壓系統通用技術條件
GB 5226.1-2008 機械電氣安全 機械電氣設備 第1部分:通用技術條件
GB/T 7932-2003 氣動系統通用技術條件
GB/T 8196-2003 機械安全 防護裝置 固定式和活動式防護裝置設計與制造一般要求
GB 14048.4-2010 低壓開關設備和控制設備 第4-1部分:接觸器和電動機起動器 機電式接觸器和電動機起動器(含電動機保護器)
GB 14048.5-2008 低壓開關設備和控制設備 第5-1部分:控制電路電器和開關件 機電式控制電路電器
GB/T 15706-2012 機械安全 設計通則 風險評估與風險減小
GB 16754-2008 機械安全 急停 設計原則
GB/T 16855.1-2008 機械安全 控制系統有關安全部件 第1部分:設計通則
GB 18209.1-2000 機械電氣安全 指示、標志和操作 第1部分:關于視覺、聽覺和觸覺信號的要求
GB/T 18569.1-2001 機械安全 減小由機械排放的危害性物質對健康的風險 第1部分:用于機械制造商的原則和規范
GB/T 18717.1-2002 用于機械安全的人類工效學設計 第1部分:全身進入機械的開口尺寸確定原則
GB/T 18717.2-2002 用于機械安全的人類工效學設計 第2部分:人體局部進入機械的開口尺寸確定原則
GB/T 18831-2010 機械安全 帶防護裝置的聯鎖裝置 設計和選擇原則
GB/T 19436.1-2004 機械電氣安全 電敏防護裝置 第1部分:一般要求和試驗
GB/T 19436.2-2004 機械電氣安全 電敏防護裝置第2部分:使用有源光電防護器件(AOPDs)設備的特殊要求
GB/T 19670-2005 機械安全 防止意外啟動
GB/T 19671-2005 機械安全 雙手操縱裝置 功能狀況及設計原則
GB/T 19876-2012 機械安全 與人體部位接近速度相關的安全 防護裝置的定位
GB 23821-2009 機械安全 防止上下肢觸及危險區的安全距離
GB/T 25078.1-2010 聲學 低噪聲機器和設備設計實施建議 第1部分:規劃
GB 25285.1-2010 爆炸性環境 爆炸預防和防護 第1部分:基本原則和方法
GB/T 25749.1-2010 機械安全 空氣傳播的有害物質排放的評估 第1部分:試驗方法的選擇
ISO 9355-1:1999 顯示和控制調節器設計的人類工效學要求 第1部分:用戶與顯示和控制致動器的相互作用(Ergonomic requirements for the design of displays and control actuators-Part 1:Hu-man interactions with displays and control actuators)
EN 12545:2000 制鞋、制革和人造革機械 噪聲測試規范 一般要求(Footwear,leather andlimitation leather goods manufacturing machines-Noise test code-Common requirements)
3 術語和定義
GB/T 15706-2012界定的以及下列術語和定義適用于本文件。
3.1
砂磨機 grinding machine
3.1.1
粗磨機 roughing machine
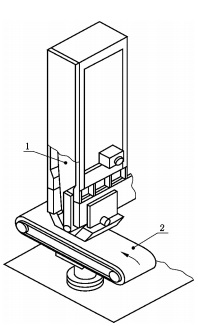
對材料表面進行磨粗的機器,使鞋類元件在粘膠之前具有一個磨粗的表面。
注:見圖1。

說明:
1——砂帶;
2——輸送帶。
圖1 粗磨機
3.1.2
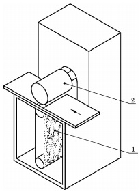
精磨機 scouring machine
將材料去除表層的機器,使鞋類元件獲得一個半精加工表面。
注:見圖2。

說明:
1——砂帶;
2——輸送輥。
圖2 精磨機
3.2
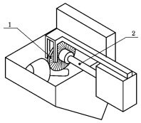
拋光機 polishing machine
將材料涂敷于表層的機器,使鞋類元件獲得一個精加工表面。
注:見圖3。

說明:
1——拋光輪;
2——傳動軸。
圖3 拋光機
3.3
工具 tool
直接作用于需加工的材料上的機器部件,執行粗磨、精磨或拋光的部件。包括3.3.1~3.3.5中定義的工具。
以上為標準部分內容,如需看標準全文,請到相關授權網站購買標準正版。
-
IG541混合氣體滅火系統
IG541混合氣體滅火系統:IG-541滅火系統采用的IG-541混合氣體滅火劑是由大氣層中的氮氣(N2)、氬氣(Ar)和二氧化碳(CO2)三種氣體分別以52%、40%、8%的比例混合而成的一種滅火劑 -
二氧化碳氣體滅火系統
二氧化碳氣體滅火系統:二氧化碳氣體滅火系統由瓶架、滅火劑瓶組、泄漏檢測裝置、容器閥、金屬軟管、單向閥(滅火劑管)、集流管、安全泄漏裝置、選擇閥、信號反饋裝置、滅火劑輸送管、噴嘴、驅動氣體瓶組、電磁驅動 -
七氟丙烷滅火系統
七氟丙烷(HFC—227ea)滅火系統是一種高效能的滅火設備,其滅火劑HFC—ea是一種無色、無味、低毒性、絕緣性好、無二次污染的氣體,對大氣臭氧層的耗損潛能值(ODP)為零,是鹵代烷1211、130 -
手提式干粉滅火器
手提式干粉滅火器適滅火時,可手提或肩扛滅火器快速奔赴火場,在距燃燒處5米左右,放下滅火器。如在室外,應選擇在上風方向噴射。使用的干粉滅火器若是外掛式儲壓式的,操作者應一手緊握噴槍、另一手提起儲氣瓶上的


