GB/Z 35850.3-2021 電梯、自動扶梯和自動人行道安全相關的可編程電子系統的應用 第3部分:PESSRAL和PESSRAE相關的可編程電子系統的生命周期指南
- 發表時間:2023-02-01
- 來源:共立消防
- 人氣:
1 范圍
本文件提供了編制GB/T 35850.1(PESSRAL)和GB/T 35850.2(PESSRAE)所要求的供勝任的維護人員對可編程電子系統進行維護操作時使用的說明書的附加信息和程序。
本文件適用于應用了安全相關的可編程電子系統的電梯、自動扶梯和自動人行道。
2 規范性引用文件
下列文件中的內容通過文中的規范性引用而構成本文件必不可少的條款。其中,注日期的引用文件,僅該日期對應的版本適用于本文件;不注日期的引用文件,其最新版本(包括所有的修改單)適用于本文件。
GB/T 35850.1 電梯、自動扶梯和自動人行道安全相關的可編程電子系統的應用 第1部分:電梯(PESSRAL)(GB/T 35850.1-2018,ISO 22201-1:2017,MOD)
GB/T 35850.2 電梯、自動扶梯和自動人行道安全相關的可編程電子系統的應用 第2部分:自動扶梯和自動人行道(PESSRAE)(GB/T 35850.2-2019,ISO 8102-6:2019,MOD)
3 術語和定義
GB/T 35850.1和GB/T 35850.2界定的以及下列術語和定義適用于本文件。
3.1
勝任的維護人員 competent maintenance person
已經過適當的培訓,通過知識和實踐經驗方面的認定,并能得到其所在維護組織(3.4)必要的指導和支持,以便能夠安全進行所要求的維護操作的維護人員。
注:在維護組織(3.4)中,維護人員的技能是不斷更新的。
3.2
設計等效 design equivalent
原設備制造單位或第三方的認證產品,其滿足相同的SIL等級組件/子系統的設計規范,但是對PE系統的非SIL等級部分有著不同的規范。
3.3
功能等效 functional equivalent
產品具有與原認證產品不同的SIL等級組件/子系統設計規范,但滿足相同的功能要求。
3.4
維護組織 maintenance organization
具備規定資格的,代表電梯設備的業主(3.7)并由勝任的維護人員(3.1)執行維護工作的法人或法人下屬部門。
3.5
制造單位 manufacturer
負責電梯整機(電梯、自動扶梯和自動人行道)或安全部件的設計、制造和市場投放的法人。
[來源:GB/T 18775-2009,3.7,有修改]
3.6
維護 maintenance
設備安裝后生命周期內的活動,包括預防、更換、修理和改造。
3.7
業主 owner
具有設備的所有權或處置權,并對其操作和使用負責的自然人或法人。
3.8
可編程電子 programmable electronic;PE
以計算機技術為基礎,可以由硬件、軟件及其輸入和(或)輸出單元構成。
注:本術語包括以一個或多個中央處理器(CPU)及相關的存儲器等為基礎的微電子裝置。
示例:下列均是可編程電子裝置。
——微處理器。
——微控制器。
——可編程控制器。
——現場可編程門陣列(FPGA)。
——專用集成電路(ASIC)。
——可編程邏輯控制器(PLC)。
——其他以計算機為基礎的裝置(如:智能傳感器、智能變送器、智能執行器等)。
3.9
可編程電子系統 programmable electronic system
PE系統 PE system
基于一個或多個可編程電子裝置的控制、保護或監視的系統,包括系統中所有組件,如電源、傳感器和其他輸入裝置、數據總線和其他通信路徑、執行裝置和其他輸出裝置。
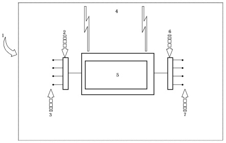
注1:見圖1。
注2:PE系統可執行滿足SIL.要求或非SIL要求的功能。功能的SIL.分級只需考慮PE系統中執行SIL.相關功能要求的部分。
注3:圖1中所示的可編程電子在中心位置,但是可以設置于PE系統的多個位置。

標引序號說明:
1——PE系統的范圍;
2——輸入接口(如:A/D轉換器);
3——輸入裝置(如:傳感器);
4——通信:
5——可編程電子(PE);
6——輸出接口(如:D/A轉換器);
7——輸出裝置/終端組件(如:執行裝置)。
圖1 基本的PE系統結構
3.10
產品等效 product equivalent
原設備制造單位或第三方的認證產品,可在設計、制造、型號和版本(按相同的生產圖紙制造)上直接替代原認證產品。
4 說明書內容
4.1 概述
4.2~4.4提供了對GB/T 35850.1和GB/T 35850.2所述的PE系統說明書的編制過程和附加內容的特殊考慮。
4.2 安全預防措施
在編制說明書時,開發人員宜進行風險評價,從而識別和消除PE系統生命周期中此階段可能存在的危險(見GB/T 20900)。
4.3 標記、標志、象形圖和書面警示
根據國家相關要求,含有SIL等級裝置的裝配組件宜進行標記或者標出識別信息,并指出維護人員應參考說明書,以獲得詳細的操作指南和預防措施。
以上為標準部分內容,如需看標準全文,請到相關授權網站購買標準正版。
-
IG541混合氣體滅火系統
IG541混合氣體滅火系統:IG-541滅火系統采用的IG-541混合氣體滅火劑是由大氣層中的氮氣(N2)、氬氣(Ar)和二氧化碳(CO2)三種氣體分別以52%、40%、8%的比例混合而成的一種滅火劑 -
二氧化碳氣體滅火系統
二氧化碳氣體滅火系統:二氧化碳氣體滅火系統由瓶架、滅火劑瓶組、泄漏檢測裝置、容器閥、金屬軟管、單向閥(滅火劑管)、集流管、安全泄漏裝置、選擇閥、信號反饋裝置、滅火劑輸送管、噴嘴、驅動氣體瓶組、電磁驅動 -
七氟丙烷滅火系統
七氟丙烷(HFC—227ea)滅火系統是一種高效能的滅火設備,其滅火劑HFC—ea是一種無色、無味、低毒性、絕緣性好、無二次污染的氣體,對大氣臭氧層的耗損潛能值(ODP)為零,是鹵代烷1211、130 -
手提式干粉滅火器
手提式干粉滅火器適滅火時,可手提或肩扛滅火器快速奔赴火場,在距燃燒處5米左右,放下滅火器。如在室外,應選擇在上風方向噴射。使用的干粉滅火器若是外掛式儲壓式的,操作者應一手緊握噴槍、另一手提起儲氣瓶上的


